Kawża Modifikata Seiko Spb185/spb187j1
Dijametru tal-Oġġett: 42MM
Materjal tal-każ: STAINLESS STEEL
Materjal tal-każ: STAINLESS STEEL
Ibgħat l-inkjesta
Chat Now
Deskrizzjoni
Parametri tekniċi

Kawża ta 'l-għassa ta' l-istainless steel:





Kawża tad-Deheb Stainless Steel-Deheb Plated:



Agħmel Kaxxa ta' l-arloġġi tar-ram residwu antika:



Kawża tad-Deheb Rose galvanizzat:



Kawża ta' l-Għassa Iswed Galvanizzat:



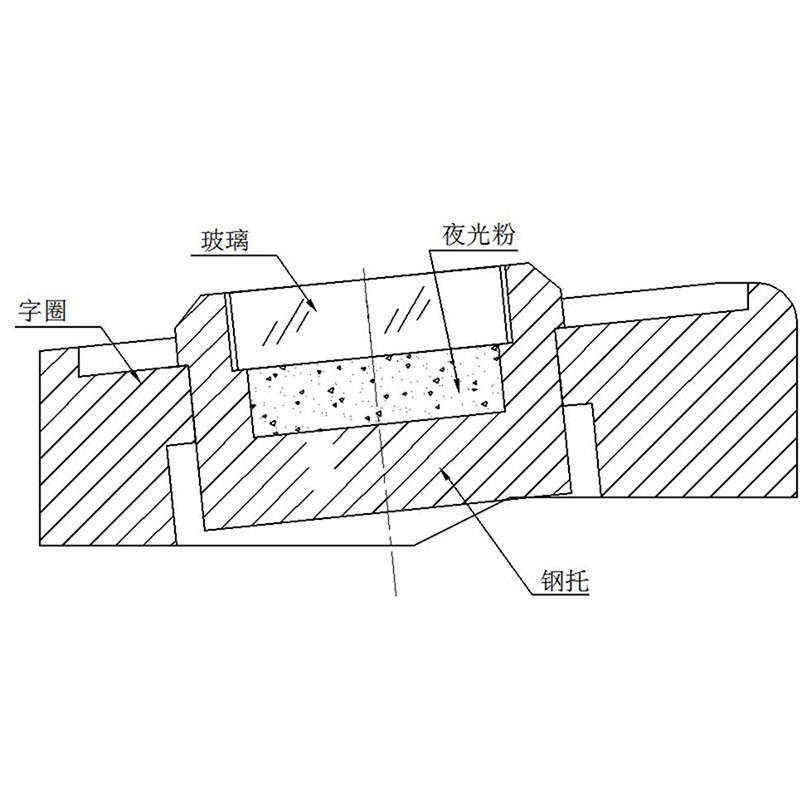
Żibeġ li jiddu fid-dlam jiksbu titjib ġdid, glow-in-Dark Super C3 Glow-in-the-Dark u mbagħad ikopru l-ħġieġ.






It-tags Popolari: każ seiko spb185/spb187j1 modifikat, manifatturi, fornituri, fabbrika, użanza, bl-ingrossa, kwotazzjoni, lista tal-prezzijiet
Par ta ' l-
Kawża tal-Moviment Seiko Nh35/36/4r36aIbgħat l-inkjesta












